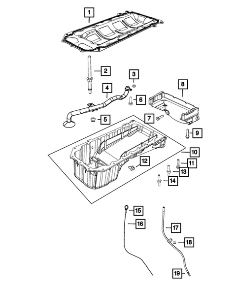
Engine Oiling, Oil Pan and Indicator (Dipstick) for 2023 Jeep Wrangler
Mopar GASKET Engine Oil Pan Windage Tray Included With Long Block Engine Install Kit
Mopar Double Ended Stud
M12X1.75XM8X1.25X154.50. Main Bearing Cap To Cylinder Block
Mopar Hex Lock Nut
M8x1.25. Oil Pickup Tube To Cylinder Block
Mopar Hex Head Bolt And Coned Washer
M8X1.25X27.00. Oil Pickup Tube To Cylinder Block
Mopar Hex Head Bolt And Washer
M10x1.50x45.00. Structural Collar To Transmission. Late Production
Mopar Hex Head Bolt And Washer
M10x1.5x50. Structural Collar To Cylinder Block. Late Production
Mopar Use For 07/21/2021 And After. Stamped Steel. Used For Production Date 08/31/2021 And After.
Mopar M6X1.00X23.00. Fog Lamp Bracket To Corner Bracket & Wheel Liner Bracket To Shell & Pencil Brace To Mounting Bracket
Mopar Hex Flange Lock Nut
M6X1.00. Exhaust Manifold Heat Shield And Engine Oil Indicator Tube To Exhaust Manifold
Mopar Included With Long Block Engine Install Kit
Mopar Engine Oil Filter
Small Oil Filter Is Used Due To Clearance Issue With Radiator Hose
Mopar Hex Head Bolt And Coned Washer
M8X1.25X65.00. Oil Pump To Cylinder Block


