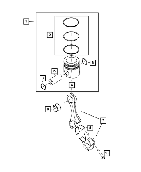
Crankshaft, Piston, Drive Plate, Flywheel, and Damper for 2017 Ram 3500
Mopar Bolt, Mounting, Damper To Crankshaft
24x.44. Vibration Dampner To Crankshaft
Mopar Engine Dual Mass Flywheel
Duel Mass With Springs.
Mopar Hex Flange Head Bolt, Mounting
M12x1.75x40.00. Mounting Transmission Adapter Cover To Cylinder Block
Mopar Hex Flange Head Bolt, Mounting
M10x1.5x25.00. Mounting Driveplate To Flywheel
Mopar Dowel Pin
Transmission Adapter To Transmission. Flywheel Housing. [M18x10]. Clutch Housing To Block. Mounting Transmission To Cylinder Block.
Mopar Flexplate Or Flywheel Backing Plate
Mopar Hex Head Bolt, Mounting
Mounting Flywheel To Crankshaft
Mopar Hex Head Bolt, Mounting
M12x1.25x18.00. Mounting Flexplate To Crankshaft
Mopar M6x1.00x16.00. Rear Crankshaft Oil Seal Retainer To Cylinder Block
Mopar Crankshaft Rear Oil Seal Retainer Gasket
Mopar Rear Crankshaft Oil Seal And Retainer Are Only Serviced Individually
Mopar Hex Flange Head Bolt
M8x1.25x20.00. Noise Panel To Cylinder Block
Mopar Transmission Adapter
Automatic Transmission.
Mopar Transmission Adapter
Manual Transmission.
Mopar Connecting Rod Bearing, Upper
STD.. Up to June-2003
Mopar Connecting Rod Bolt
Connecting Rod Cap To Connecting Rod

