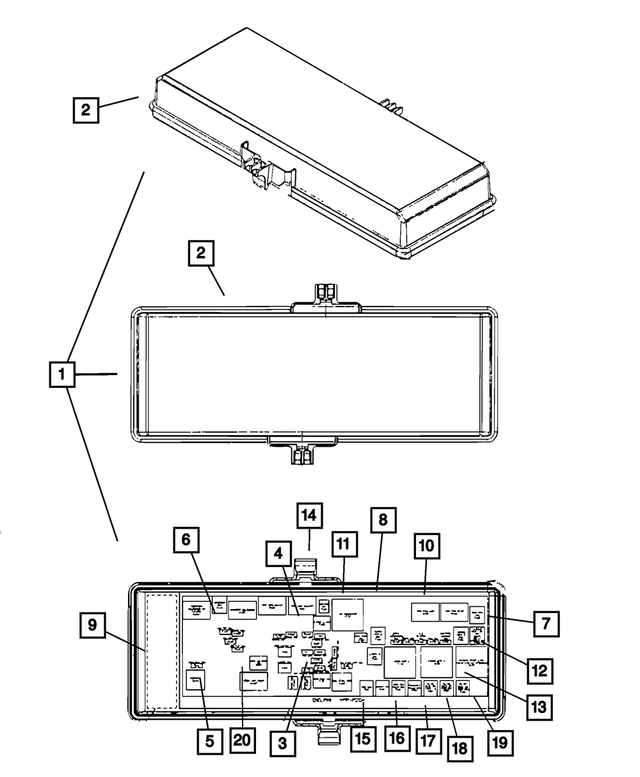
Power Distribution Center, Fuse Block, Junction Block, Relays and Fuses for 2011 Dodge Journey
Mopar High Current G8V-RH-1A7T-R-DC12 Could Also Have Stamp Number 13748474 Two Different Suppliers Provided Stock To Production
Mopar Dual Source, Supplier # Either 13742705 Or 897H-1AH-D-R1 12VDC
Mopar Vacuum Pump, Starter, Rad Fan #1, Fuel Pump, Police Ign feed #1, Rad Fan #2, Rad Fan #3, Ign Run/Start, Police Ign Feed #2, Police Ign feed #3, ASD Relay #1
Mopar Mini J Case Fuse
30 AMP. This Fuse Is All Pink And Will Replace The Existing Fuse That Has A Purple Face
Mopar High Current G8V-RH-1A7T-R-DC12 Could Also Have Stamp Number 13748474 Two Different Suppliers Provided Stock To Production
Mopar Dual Source, Supplier # Either 13742705 Or 897H-1AH-D-R1 12VDC


