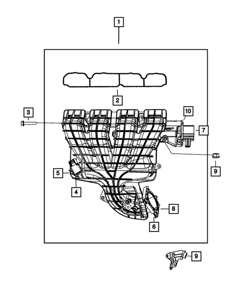
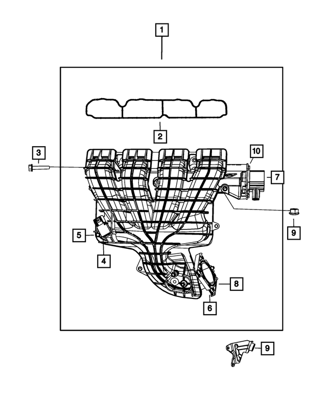
Manifolds and Vacuum Fittings for 2009 Jeep Patriot
Mopar Hex Flange Head Bolt, Mounting
M10x1.50x25.00. Mounting, Lever To Seat Frame [M10x25]
Mopar Hex Flange Lock Nut, Mounting
M8x1.25x8.0. Park Brake Lever to Park Brake Sled
Mopar Hex Flange Head Bolt, Mounting
M8X1.25X45.00. T/CASE TORSIONAL DAMPER TO T/CASE
Mopar M5.74X1.81X21.50. Engine Cover Bracket To Intake Manifold
Mopar Hex Flange Head Bolt, Mounting
M10x1.50x25.00. Mounting, Lever To Seat Frame [M10x25]
Mopar Hex Flange Lock Nut, Mounting
M8x1.25x8.0. Park Brake Lever to Park Brake Sled
Mopar Hex Flange Lock Nut, Mounting
M8x1.25x8.0. Park Brake Lever to Park Brake Sled
Mopar Hex Flange Head Bolt, Mounting
M8X1.25X45.00. T/CASE TORSIONAL DAMPER TO T/CASE



