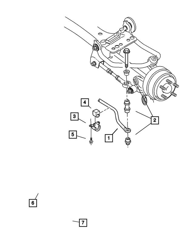
Rear Suspension for 2006 Chrysler Sebring
Mopar Control Arm, Right
After 12-4-03 or Control Arm Mounting Holes are 156.7 mm apart
Mopar Control Arm, Left
After 12-4-03 or Control Arm Mounting Holes are 156.7 mm apart
Mopar Hex Flange Lock Nut
M12x1.75. Engine Mount To Engine Mount Bracket
Mopar Nut And Washer
When stock is exhausted order 52122362AA Rod & Link Assy. & 52122370AA Damper Assy.
Mopar Hex Head Screw And Washer
M6X1.00X11.00. Ground Strap to Urea Tank Crossmember
Mopar Hex Flange Lock Nut
M10x1.50. Drive Shaft Center Bearing to Center Bearing Bracket
Mopar Hex Flange Head Bolt
M12X1.75X45.00. Power Take Off Unit To Transmission Bracket
Mopar M8x1.25x35. Used up to 11/06/2013 with transmission 68220733AH only


