Start the year strong with free shipping on orders $200+ — automatically applied at checkout (up to $50). Ends 1/31/26.

Mopar® Authentic Parts & Accessories

hamburger

Select a Vehicle

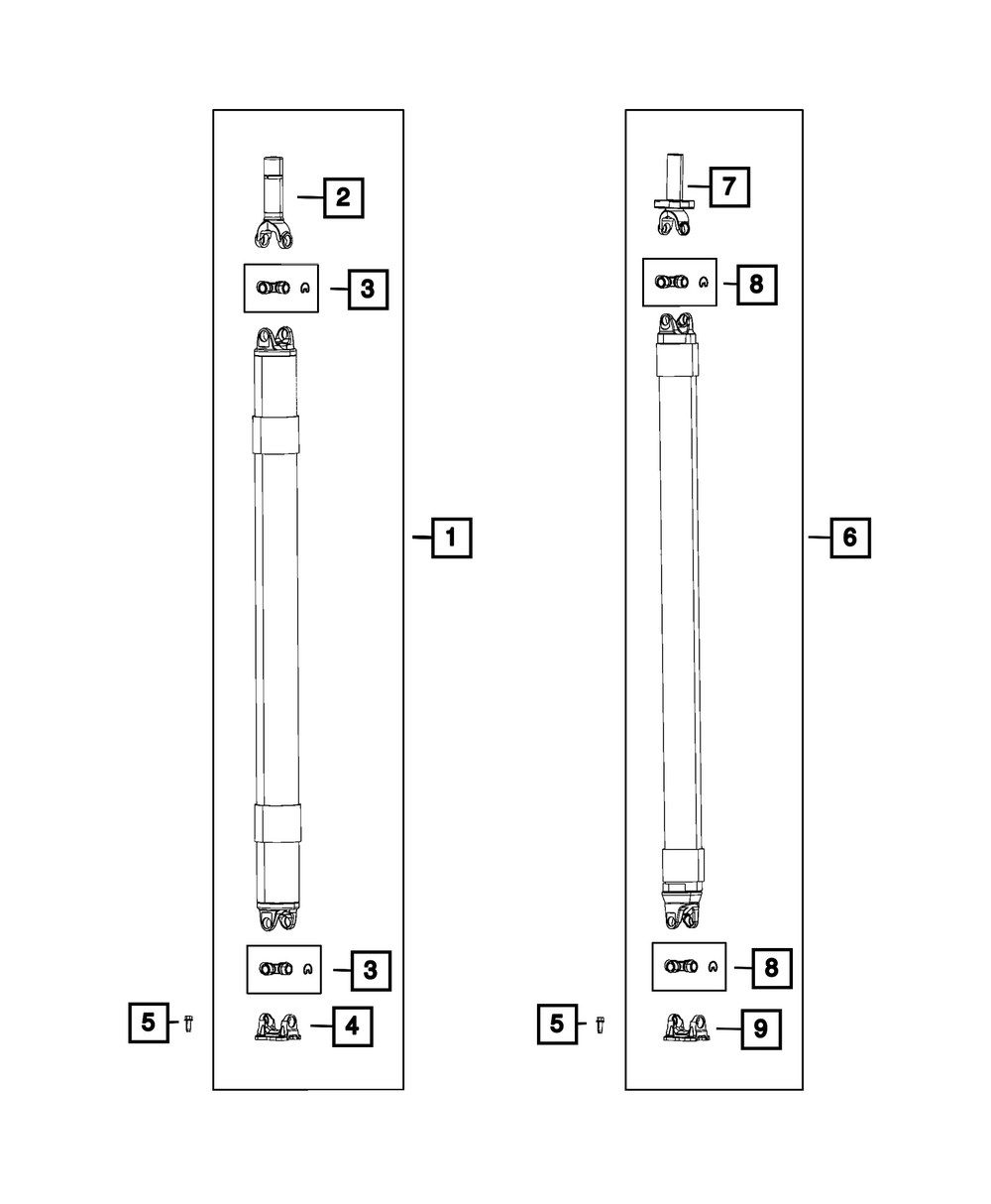
Drive Shaft - Mopar (68574942AA)

Part can be found as reference #1 in illustration

Drive Shaft - Mopar (68574942AA)

2025-2026 Ram 1500 - 68574942aa

Details

  • Brand:

    Mopar Parts

  • SKU:

    68574942AA

  • Other Names:

    Shaft

  • Description:

    Rear 1-Piece

MSRP $654.00
Invalid Postal Code
Earn $75 for Today's Order